新闻中心

搜索:

防排烟及通风系统工艺

文章来源:鑫佳通 作者:轴流风机小编 发布时间:2017-04-25 10:12:32 浏览次数:10449

施工前根据现场情况详细制定方案,并按照施工流程图依次完成风管加工、风管及设备安装、调试等工作。


施工流程图:

Ⅰ、通风、防排烟、空调风管制作


1、为了提高运输效率、减少消耗和成品的完好性,采取车间预制现场装配的方法,即车间采用机械化加工成半成品形式运输到现场组合装配。


2、风管材质及连接见下表

序号

系统类别

板材

连接方式

1

空调送风管、新风管、排风管(圆形风管直径或矩形风管大边长)

≤200

>200~500

>500~1120

δ=0.5镀锌板

δ=0.75镀锌板

δ=1.2镀锌板

法兰连接

>1120

δ=2.0普通钢板

焊接

2

过防火墙风管(圆形风管直径或矩形风管大边长)

≥200~500

>500~2000

δ=1.0镀锌板

δ=1.2镀锌板

法兰连接

3

预埋混凝土中的通风管道

焊接钢管

焊接

4

消防排烟风管

δ=1.6~2.0,普通钢板

焊接或法兰连接

3、金属矩形风管边长>630mm,保温风管边长>800mm时,且管段长度大于1250mm或低压风管单边平面积大于1.2平方米、中、高压风管大于1.0平方米,均应有加固措施。


4、如果风管中增加一道支撑隔板,材料厚度与风管相同。风管的支管与干管相接处为三通分路,当支管与干管的底面(或顶面)相距<150mm时,做成弧形三通,相距在150mm以上者做成插管式三通,连接要严密。


5、风管弯头按《91SB6》标准图制作。空调、通风系统风管软接头可采用帆布制作,排烟系统可采用不燃软性材料制作。


6、金属矩形风管与角钢法兰连接时,当管壁厚度≤1.5mm时可采用翻边铆接,铆接应牢固;当管壁厚度>1.5mm时,可采用满焊或翻边间断焊。矩形风管法兰用镀锌铆钉铆固,法兰在铆固前先除锈再刷樟丹两道,矩形风管咬口处应严密、平整、无毛刺。


7、通风管道的联接方式为角钢法兰联接,适用于高压通风系统(防排烟系统及超静压系统)。角钢法兰联接方式:


金属矩形风管法兰用料规格表


风管长边尺寸(mm)

法兰用料规格(角钢)

≤630

25×3

630~1500

30×3

1500~2500

40×4

2500~4000

50×5

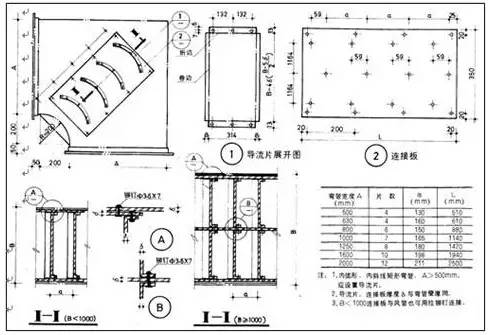
8、矩形弯管导流片


(1)空调风管长边尺寸大于500mm直角弯头应加导流片。导流片的弧度应与弯管角度相一致。风管转弯半径一般R=D。矩形短半径弯头应加导流叶片,导流叶片厚度为风管的两倍,不小于60mm,片数不得少于两片。


(2)导流片的迎风侧边缘应圆滑,其两端与管壁的固定应牢固,同一弯管内导流片的弧长应一致。



9、风管的咬口形式做如下选择:矩形风管或配件的四角组合采用联合角咬口。咬口宽度和留量根据板材厚度定,具体尺寸见下表:


钢板厚度

平咬口宽B

角咬口宽B

0.7以下

6~8

6~7

0.7~0.82

8~10

7~8

0.9~1.2

10~12

9~10

风管咬口宽度表(mm)


10、风管咬口缝结合要紧密,咬缝宽度要均匀,操作时,用力均匀,不宜过重,不能出现有半咬口或胀裂现象。


11、风管外观质量应达到折角平直,圆弧均匀,两端面平行,无翘角,表面凹凸不大于5mm;风管与法兰连接牢固,翻边平整,宽度不小于6mm,紧贴法兰。


Ⅱ、风管部件及支、吊架安装


工艺流程:

1、支吊架安装


(1)风管与部件支吊架的预埋件、膨胀螺栓位置应正确无误,用膨胀螺栓固定支吊架时应符合技术条件的规定。砖墙上后期预埋支架,根据风管标高算出支架上表面离地距离,找到正确位置打好洞后将支架埋入洞内用1:2的水泥砂吊架嵌入槽中,用水泥砂浆将槽填平。


(2)支吊架的固定采用以下几种方法:①膨胀螺栓法。本方法适用于规格较小的风管支吊架的固定。本工程支吊架固定大多数采用此法,通过在楼板、梁柱上打膨胀螺栓固定支吊架。②焊接法。本方法适用于风管规格大,使用膨胀螺栓固定不能满足强度时,采用预埋件焊接固定支吊架。支架固定形式见下图。

(3)支吊架安装前,按风管中心线找出吊杆敷设位置,单吊杆在风管的中心线上;双吊杆按托架的螺孔间距或风管的中心线对称安装。对风管管线较长,风管排列整齐的部位,安装支吊架时,先把两端的支吊架安好,再以两端的支吊架为基准,用拉线法找出中间支架的标高进行安装。同时,在适当位置设置防晃支架。


(4)支吊架不得安装在风口、阀门、检查孔等处,以免影响操作。吊架不得直接吊在风管法兰上。支吊架的间距按设计要求进行,每隔3米设支吊架一个,风管垂直安装时,间距不大于4m,但每根立管的固定件不少于2个。保温风管支吊架必须在横担上衬垫外刷防火漆的硬木垫,木垫的厚度以风管保温的厚度为准。


风管支吊架间距(不保温风管)应符合下表:


矩形风管长边

承托角钢

螺栓

间距m

≤500

30×30×4

Φ8

3

510~1000

40×40×5

Φ8

3

1010-1500

50×50×6

Φ10

3


保温风管支吊架间距应符合下表


矩形风管

长边尺寸

水平风

管间距

垂直风

管间距

斜撑角钢

承托角钢

吊杆

吊架数

≤400

3.4

4m

30×4

30×4

Ф8

2

≤1000

2.45

3.5m

40×5

40×5

Ф8

2

1001-2000

1.7

2m

50×6

50×6

Ф10

2


(5)托架与风管间镶以垫木并不得损坏,所有阀门操作装置均设开关指示牌,操作装置露出保温层30-50mm。

风管支吊架做法详图如下:

Ⅲ、风管及部件安装


1、风管及部件安装前,清除内外杂物及污垢并保持清洁。安装风管时,为安装方便,在条件允许的情况下,尽量在地面上进行连接,一般接至10~12m长左右。


2、风管法兰垫料按系统进行选用。空调、通风风管采用厚度为3mm的8501密封胶带密封,排烟系统风管采用石棉橡胶板作为法兰垫料。


3、法兰垫片厚度为3~5mm,垫片要与法兰齐平,不得凸入管内,以免增大空气流动阻力,减少风管的有效面积。


4、紧固法兰螺栓时,用力要均匀,螺母方向一致。风管立管法兰穿螺栓,要从上往下穿,以保护螺纹不被水泥砂浆等破坏。


5、穿出屋面的风管设置防雨罩;穿出屋面1.5m的立管必须可靠固定、完好无损,不得出现裂纹、咬口不严密以及空洞等缺陷,以免雨水从风管内漏入室内。风管在穿越墙体、楼板时,四周缝隙用防火柔性材料密实填充。


6、穿越沉降缝风管之间连接及风管与设备连接的柔性短管采用外刷防火漆的帆布制作。在风管与设备连接柔性短管前,风管与设备接口必须已经对正,不得用柔性软管来作变径、偏心。安装柔性短管时应注意松紧要适当,不得扭曲。空调支管至风口之间的连接采用带保温层的金属软管,软管与风口及与风管接口采用专用的卡箍进行连接。软管较长时,必须在中间部位设置吊架,但金属软管的长度不得超过2米。


7、风管与配件可拆卸的接口及调节机构等,不得装设在墙或楼板内。


8、在安装防火阀前,拆除易熔片。待阀体安装后,检查其弹簧及传动机构是否完好并安装易熔片。防火阀、消音器按正确的方向安装且单独设置支吊架。


9、安装调节阀、防火阀等可调节配件时,将操作手柄设置在便于操作的部位。所有的送风管道及新风管道三通处均设置三通拉杆阀。


10、风管安装的最大允许偏差:


项次

项目

允许偏差mm

检验方法

1

水平度

每米

3

拉线、液体连通器和

尺量检查

总偏差

20

2

垂直度

每米

2

吊线和尺量检查

总偏差

20

11、风管法兰连接用镀锌螺栓和螺母,其螺母应在同一侧。空调风管法兰间采用3mm厚软橡胶板作衬料,风管上的可拆卸接口,不得设置在墙体或楼板内。凡有阀门、风管检查门处的吊顶应留检查孔。


12、风管穿过墙体和楼板处与墙壁或楼板间时,使用防火柔性材料密实填充。

详图如下:

13、穿越沉降缝或变形缝处的风管两侧,以及与通风机进出口相连的地方,应设置长度为200~300mm的人造革软接管,软接口应牢固、严密。


14、防火阀、消声器处设置单独吊架,并避开风口、检视门、测定孔等部位,以免影响系统使用。


15、风阀:调节阀等部件安装必须将手柄配置在便于操作部位,防火阀安装必须与设计相符,气流方向务必与阀体上的标志尖头相一致,严禁反向。


16、为确保工程按期交付甲方,随时配合土建吊顶时风口碰头及安装风口。根据装修总体布局及时配合有关方面核实风口位置,并将支风管引接到位,不影响吊顶。


17、风口到货后,对照图纸核对风口规格尺寸,按系统分开堆放,做好标识,以免安装时弄错。


18、安装风口前要仔细对风口进行检查,看风口有无损坏、表面有无划痕等缺陷。凡是有调节、旋转部分的风口要检查活动件是否灵活,叶片是否平直,与边框有无摩擦。对有过滤网的可开启式风口,要检查过滤网有无损坏,开启百叶是否能开关自如。风口安装后应对风口活动件再次进行检查。


19、在安装风口时,注意风口与所在房间内线条一致。尤其当风管暗装时,风口要服从房间线条。吸顶安装的散流器与吊顶平齐。风口安装要确保牢固可靠。


20、为增强整体装饰效果,风口及散流器的安装采用内固定法:从风口侧面用自攻螺钉将其固定在龙骨架或木框上,必要时加设角钢支框。


21、成排风口安装时要用水平尺、卷尺等保证其水平度及位置,并用拉线法保证同一排风口/散流器的直线度。


22、外墙百叶风口安装时,必须设置防虫网。防止飞虫通过风管进入室内,同时防止飞鸟通过风管进入风机,造成风机叶片的损伤。

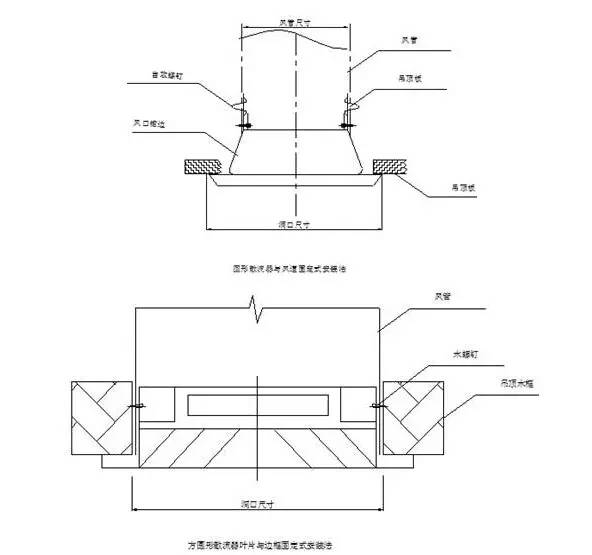
风口安装详图:

Ⅳ、风管漏光试验与试压


1、采用漏光法检测系统,低压系统风管每10米接缝,漏光点不得超过2处,且100米接缝平均不大于16处;对中压风管每10米接缝,漏光点不得超过1处,且100米接缝平均不大于8处为合格。


(1)本工程通风工程风管在安装完成后,对风管采用漏光法对风管严密程度进行检测。抽检率为5%。采用100W带保护罩的低压照明灯作漏光检测的光源。白天检测时,光源置于风管外侧;晚上检测时,光源置于风管内侧。


(2)检测光源沿被检测部位与接缝作缓慢移动,在另一侧进行观察。当发现有光线射出,则说明查到明显漏风部位,并做好记录。


(3)系统风管采用分段检测、汇总分析的方法。漏光检测中如发现条缝形漏光,则需视不同的漏光部位分别进行处理。如是法兰处,则用拧紧螺栓、更换密封垫方法;如是咬缝处,则用密封胶密封等方法。


2、低压系统的严密性检验宜用采用抽检,抽检率为5%,且抽检不得少于一个系统。在加工工艺及安装操作质量得到保证的前提下,采用漏光法检测。漏光检测不合格时,应按规定的抽检率,作漏风量测试。中压系统的严密性检验,应在严格的漏光检测合格条件下,对系统风管漏风量测试实行抽检,抽检率为20%,且抽检率不得少于一个系统。高压系统应全数进行漏风量测试。


Ⅴ、防腐与保温


1、非镀锌钢板空调风管表面除锈后,内表面喷涂醇酸底漆,醇酸磁漆各两遍,外表面刷防锈底漆两遍;排烟风管除锈后刷两遍耐火漆。预埋混凝土中的风管除锈后,内表面喷涂醇酸底漆、醇酸磁漆各两遍,外表面刷防锈底漆两遍。


2、风管保温:吊顶内的消防排烟风管及竖井内的消防排烟风管需设隔热保温,保温材料采用铝箔离心玻璃棉板,保温厚30mm。


Ⅵ、通风、空调风系统的调试


1、调试的依据

根据设计图纸、产品说明书以及设计及施工验收规范。


2、调试的项目、程序、方法及调试要求


(1)空调系统电气设备与线路的检查测试

该项工作在空调制冷专业人员配合下,由电气专业人员调试操作。


(2)通风机单机空载试运转

检查各项安全措施;盘动叶轮,不应有磨擦与磕碰现象;检查叶轮旋转方向是否正确;试运转时检查风机的减震器是否移位;滑动轴承最高温度不得超过70℃;滚动轴承最高温度不得超过80℃。


风机启动时检查叶轮旋转方向,是否与机壳上箭头标志方向一致,如不一致应停机,改变接线,保证风机正转;启动中观察风机运转响声是否正常,如异常停机检查。


风机启动后用钳形电流表测量电机电流值,若超过额定电流值,可逐步关小总管风量调节阀,直至额定值为止;风机运转一段时间后,用表面温度计测量轴承的温度。一般风机滑动轴承允许最高温度为70℃,最高温升35℃。滚动轴承允许最高温度为80℃,温升40℃。


通风机性能测试

风机风压Pq=|Pqy|+|Pqx|

式中:Pq---风机风压即风机的全压;Pa

Pqy---风机压出口处的全压;Pa

Pqx---风机吸入口处全压;Pa

风机全压测量与风管内全压的测量方法相同,使用仪表也相同,用毕托管和倾斜微压计测量。风机压出端测量截面,选在靠近风机出口而气流比较稳定的直管段上;风机吸入口端的测量截面位置选在尽可能靠近风机吸入口处的直管段上。


风机风量测量分别在风机压出端和吸入端,与风机的风压测量同时进行。测量方法与风管内风量测定方法相同。风机的风量取压出端和吸入端风量的平均值。


3、空调风系统的测定与调整


(1)确定测量截面与测点的位置


测量截面的位置:选择气流比较均匀稳定的管段作测量截面的位置,一般测量截面选在产生局部阻力之后4~5倍风管直径(或风管大边尺寸)和产生局部阻力之前1.5~2倍风管直径(或风管大边尺寸)的直管段上。


矩形风管截面测点的位置:在矩形风管内测量风速、风压时,将风管截面划分为若干相等的小截面,并使各小截面接近正方形,其面积不大于0.05平方米(即每个小截面的边长为220mm左右)。测点即各个小截面的中心点。


(2)各测点距风管中心的距离按下式计算:Rn=R〔(2n-1)/2m〕1/2

式中:R---风管的半径,mm

Rn---从风管中心到第n个测点的距离,mm

n---从风管中心算起的测点顺序

m---风管划分的圆环数


(3)风管内风量的测试与计算

测量方法

用毕托管、倾斜式微压计配合进行测量

平均静压与平均全压的计算:P=(P1+P2+---Pn)/n

式中P---平均静压,或平均全压,Pa;

P1、P2---Pn---测定截面上各测点的静压或全压值,Pa;

n---测点的总数。

平均动压的计算Pd=〔〔(Pd1)1/2+(Pd1)1/2+---+(Pd1)1/2〕/n〕2

式中:Pd---平均动压,Pa;

Pd1、Pd2、---Pdn---各测点的动压值,Pa;

平均风速的计算

按下式计算风管截面上的平均风速:V=(2Pd/ρ)1/2

式中V---平均风速,m/s;

Pd---平均动压,Pa;

ρ---空气的密度,Kg/m3,一般多取1.2;

风量的计算

按下式计算风管内风量:

L=3600FV

式中:L---风量,m3/h;

F---风管截面积,m2;

V---平均风速,m/s。


(4)送(回)风口风量的测定


测量方法和仪表


通常采用热球风速仪或叶轮风速仪,在风口处直接测量风口的风量。为了使测量准确,可使用加罩的方法。


测点位置和测点数


测点位置和测点数按风口截面的大小划分等面积小块,测其中心点风速,测点数不少于四点。


风口平均风速的计算

按算术平均值计算风口平均风速

V=(V1+V2+---+Vn)/n

式中:V---平均风速,m/s;

V1、V2、Vn---各测点的风速,m/s;

n---测点数。

风口风量的计算

一般按下式计算风口风量:L=3600FwVK

式中:L---风口风量,m3/h;

Fw---风口外框面积,m2;

V---风口平均风速,m/s;

K---考虑格栅等的影响引入的修正系数,取0.7~1。


(5)系统风量的调整


风量调整的方法:流量等比分配法


其方法是由最远管路的最不利风口开始,逐步调整直到风机为止。风量的调整如下:


首先选择离风机最远的1号风口为最不利风口,即最不利管路为1-3-5-9,从1号支管开始测量和调整;用两套仪器(毕托管和倾斜式微压计)分别测量支管1和2的风量,并用三通调节阀进行调节(或用支管上安装的其他类型阀门),使两支管的实测风量的比值与设计风量的比值相等为止,即:L2c/L1c=L2s/L1s。


用同样的方法测量并调整各支管、支干管,使得L4c/L3c=L4s/L3s;L7c/L6c=L7s/L6s。此时实测风量并不等于设计风量,不过已为达到设计风量创造了条件。


最后,根据风量平衡原理,通过调节风机出口总管上的风量调节阀,使总风量达到设计风量,各支干管、支管的风量就会按各自的设计风量进行等比分配。


4、防排烟系统的调试


系统的调试是系统安装工程最后的一个重要环节,我们应以高度的责任感,认真做好这一环节的工作,为检测验收作好准备。


(1)调试准备


防排烟系统工程施工结束时,施工单位自行对照设计施工图纸,并按照有关施工规程要求,对工程各个部分一一检查。


1)送风排烟风机


①送风、排烟风机的型号、风压、风量及安装位置。

②风机机座的牢固性,防震、防腐措施。

③风机的电源和主备电源条件。

④风机进风口与出风口与系统连接的情况。


2)防火阀、排烟防火阀型号、安装位置、关闭状况、电源、控制线路连接状况、单件动作的可靠性。


3)送风口排烟口的安装位置、安装质量、动作可靠性。


4)管道及连接件的材质、规格以及连接垫圈、管道的支架、吊架的牢固性和管道穿墙、穿楼板封堵措施等。


总之,系统的每一个组件都要符合设计与施工质量要求,发现不符合设计和施工要求时,抓紧时间整改。同时应与消防分包密切联系,按照施工计划安装每一项工作。


(2)风机的运转试验


风机是防排烟系统的心脏,送风机和排烟风机能否正常运转,是保证防排烟工程质量的关键。风机试运转的目的:首先,观察风机在正常供电条件下,运转情况是否正常;其次,在人为突然断电情况下备用电源投入时风机能否正常启动。


风机试运转的时间不得少于30min,从启动过程到正常运转后着重从以下几个方面来观察:


1)风机运转过程中是否超电流,这可以利用风机所配用的电流表来观测,也可以采用钳形电流表分别对三相进行测量后加以评价。


2)风机轴承与电动机温升情况。可采用半导体表面温度计来测定。


3)风机基础的振动情况。这个问题对于安装在中间设备层或屋顶层的风机尤其重要。风机基础的振动可采用专用测振仪来测定。


4)管道的振动情况。这种情况一般在金属管道中出现,管道的振动亦可用测振仪来测定。


5)管道阀门的开关是否正常,动作是否灵活,手动或自动都应分别进行试验。


6)风机运转时的噪声情况,一般作为火灾危急情况下投入运行的设备可不考虑噪声问题,但作为试运转,凭人们直观的感觉给予评价还是必要的。


风机的试运转不但是工程调试的需要,而且在日后还应定期进行风机的动转,以保证风机在任何时候都处在良好的备用状态。一般,至少每隔半年进行一次试动转。


(3)正压送风系统的性能试验


正压送风系统性能试验的主要目的是通过试验,正确评价正压送风系统是否能达到设计工况。试验方法是:


试验时,使系统的送风量稳定在设计的数值,然后在最不利的开门工况下测定关门正压间内正压力和开门门洞处的风速值。风量的调节方法对不同的运行方式是不同的。对于变风量系统,可通过改变电动机转速或直接利用风道上的电动调节阀来改变送风量,调节起来十分方便。对于旁路系统,则可通过旁通管路上的电动调节阀来调节旁通风量的大小,从而改变送至系统中的风量,直至达到设计值为止,调节起来也比较方便。对于稳压系统则必须在风道上另设调节风门,否则,无法进行风量的调节。风量的测量可在风道中采用流速法来测量,亦可在送风机进口装设入口集流器来测量。采用入口集流器的方法可直接从压差的大小来控制风量的大小,调节起来比较方便,如果采用流速法的话,不但测量过程比较麻烦,而且也不便控制。


(4)机械排烟系统性能试验


为了评价机械排烟系统能否达到设计的性能要求,必须进行机械排烟系统是否符合<<高规>>等建筑设计防火规范的要求,试验方法是:启动机械排烟系统,使之投入正常运行,若排烟机单独担负一个防烟分区的排烟时,应把该排烟机所担负的防排烟分区中的排烟口全部打开,如一台排烟机担负两个以上的防排烟分区时,则应把最大防排烟分区及次大的防排烟分区中的排烟口全开,测定通过每个排烟口的排气量。


排烟口的排气量可采用风速仪来测量,如采用热球风速仪或热线风速仪来测量则十分方便。排烟口平面上测点布置同空调系统。


应当注意,尽管机械排烟性能的调试试验通常是在冷态下进行的,但根据风机的工作原理,在冷态或热态下通过风机的风量几乎是不变的。


(5)防排烟系统整机控制试验


试验目的:通过防排烟系统整机的联动控制或程序控制试验,评价防排烟设备手动和遥控联动控制系统或自动程序控制系统的工作可靠性。


1)在正常供电的条件下,手动和遥控联动或人为发烟以触发感烟控测器动作实现排烟口开放,并联动控制或自动控制活动式挡烟垂壁动作、排烟机或送风机启动、空调机停机等一系列操作程序。


2)在人为突然断电备用电源投入的条件下,通过手动或人为发烟实现防排烟系统整机的联控或自控操作程序。


试验时,人为烟源可采用蚊香、香烟,有条件时,采用发烟装置则更佳。手动或自动操作应选定不同的地点进行,通常可选定在火灾危险性较大的部位和具有不同用途的场所,如公共部分、办公室、客房等进行试验。每个地点的试验应重复2~3次。每次试验中应注意观察各种设备的投入顺序,并记录相应的时间间隔。如发现某种设备未能按设计规定的顺序投入而产生超前或滞后的现象,应增加试验重复次数,并对试验结果进行认真的分析,在查明原因后进行速改,必要时应再重复进行试验。

上一条:气体灭火系统的安装以及会发生爆炸危害的原因分析、检测方法 下一条:不可小觑的消防气体灭火系统!! 返回列表